|
<< Click to Display Table of Contents >> Navigation: Pläne in der Messe-, Theater- und Veranstaltungstechnik > Energieverteilungsplan |
Entsprechend der DIN 15565-1 : 2000-07 wurden folgende Kurzzeichen für die Energieverteilungen in den Übersichtsschaltplänen festgelegt.
Kurz-bezeichnung |
Benennung |
nach |
Bemessungs-spannung |
Anschlussart |
Gehäuse- größe |
|---|---|---|---|---|---|
ZK63 |
Zählerverteilung |
DIN 15565-2 |
3 * AC 230/ 400V 50 Hz |
3 * 63A + N + PE |
1; 1S |
ZK125 |
Zählerverteilung |
DIN 15565-2 |
3 * 125A + N + PE |
2; 2S |
|
ZK315 |
Zählerverteilung |
DIN 15565-2 |
3 * 315A + N + PE |
2; 2S |
|
SV315 |
Schaltkasten |
DIN 15565-3 |
3 * 315A + N + PE |
2; 2S |
|
HV315 |
Hauptverteilung |
DIN 15565-4 |
3 * 315A + N + PE |
2; 2S |
|
HV/ÜV125 1) |
Hauptverteilung |
DIN 15565-4 und -6 |
3 * 125A + N + PE |
2; 2S |
|
EV63 |
Endverteilung |
DIN 15565-5 |
3 * 63A + N + PE |
2; 2S |
|
LSV32 |
Lichtstellverteilung |
DIN 1555-5 |
3 * 32A + N + PE |
1; 1S |
|
LSV63 |
Lichtstellverteilung |
DIN 15565-5 |
3 * 63A + N + PE |
2; 2S |
|
KV32 2) |
Kleinverteilung |
- 2) |
3 * 32A + N + PE |
2) |
|
MC |
Multicore -Systeme |
DIN 15565-8 |
3 * 16A + N + PE |
2) |
|
ÜV63 |
Übertragungs- wagenverteilung |
DIN 15565-6 |
3 * 63A + N + PE |
2; 2S |
|
TK315 |
Zwischenverteilung |
DIN 15565-3 |
3 * 315A + N + PE |
2; 2S |
|
1.Die Hauptverteilung HV125 ist baugleich mit der Übertragungswagenverteilung ÜV125 und in DIN 15565-6 festgelegt. 2.Die Kleinverteilung KV ist nicht festgelegt. Größe und Bestückung dieser Verteilung ist freigestellt. |
|||||
Beispiel Energieverteilungsplan 1
Transportables Energieverteilungssystem mit einem Bemessungsstrom von 3 x 63A Bemessungsspannung AC 230/400V
Die eingeklammerten Angaben geben die Stückzahlen der jeweils zugeordneten Steckdosen für die Mindestausrüstung an.
|
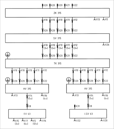
Beispiel Energieverteilungsplan 2
Transportables Energieverteilungssystem mit einem Bemessungsstrom von 3 x 315A Bemessungsspannung AC 230/400V
Die eingeklammerten Angaben geben die Stückzahlen der jeweils zugeordneten Steckdosen für die Mindestausrüstung an.
|
Beispiel Energieverteilungsplan 3
Transportables Energieverteilungssystem mit einem Bemessungsstrom von 3 x 125A Bemessungsspannung AC 230/400V
Die eingeklammerten Angaben geben die Stückzahlen der jeweils zugeordneten Steckdosen für die Mindestausrüstung an.
|
Bedeutung der Kurzzeichen in Übersichtsplänen zur Energieverteilung
|
Mindestausrüstung Steckverbinder nach DIN 15565
|
|||||||||||||||||||||||||||||||||||||||||||||||||||||||||||||||||||||||||||||||||||||||||||||||||||||||||||||||||||||||||||||||||||||||||||||||||||||||||||||||||||||||||||||||||||||||||||||||||||||||||||||||||||||||||||||||||||||||||||||||||||||||||||||||||
Bei einer TV-Hallenproduktion werden folgende Anforderungen an die Energieversorgung gestellt:
Ü-Wagen 04 x 30 kW Ausführung der Übergabestelle : 63A CEE / 5 pol. 01 x 60 kW Ausführung der Übergabestelle : 125A CEE / 5 pol. 04 x 32A CEE / 5 pol. 12 x 3kW Ausführung der Übergabestelle : Schuko 16A
Dimmer City 1 03 x 70 kW Ausführung der Übergabestelle : 125 A CEE / 5 pol. 04 x 63 A CEE / 5 pol. 06 x 32 A CEE / 5 pol. 12 x 16A CEE / 5 pol. 02 x Schuko 16A
Dimmer City 2 02 x 125 A CEE / 5 pol. 04 x 63 A CEE / 5 pol. 06 x 32 A CEE / 5 pol. 12 x 16A CEE / 5 pol. (je 6kW syn. Last) 02 x Schuko 16A
Beschallung 300A Symmetrisch auf 3*125A CEE / 5 pol.
Gastronomie 06 x 16 A CEE / 5 pol. 08 x Schuko 16A 02 * 10kW / Übergabestelle : 25A Perilex
Umfeld der Halle 04 x 18 kW Stufenlinsenscheinwerfer (125A CEE / 230V ) 08 x 4 kW Stufenlinsenscheinwerfer (EVG 230V) 06 x 7kW Space Cannon (32A CEE / 1 Phase / 230V)
Anschlussmöglichkeiten:
Aufgabenstellung: Erstellen Sie für die einzelnen Anschlussorte eine Leistungsberechnung sowie einen Netzplan zur Errichtung der Anlage ebenso entsprechende Stücklisten, Verteiler und Kabelzwischenstücke. Bestimmen Sie die Größe des Aggregates, welches zur Versorgung der Umfeldbeleuchtung nötig ist. |
Übersichtsplan zur Übung Netzplanung
|